Mexen Flow cadă de duș dreptunghiulară slim 150 x 70 cm, negru mat - 46R707015

Mexen Flow cadă de duș dreptunghiulară slim 150 x 70 cm, negru mat - 46R707015

  • Zilele Băii
Mexen Flow cadă de duș dreptunghiulară slim 150 x 70 cm, negru mat - 46R707015
search
  • Mexen Flow cadă de duș dreptunghiulară slim 150 x 70 cm, negru mat - 46R707015
  • Mexen Flow cadă de duș dreptunghiulară slim 150 x 70 cm, negru mat - 46R707015
  • Mexen Flow cadă de duș dreptunghiulară slim 150 x 70 cm, negru mat - 46R707015
  • Mexen Flow cadă de duș dreptunghiulară slim 150 x 70 cm, negru mat - 46R707015
  • Mexen Flow cadă de duș dreptunghiulară slim 150 x 70 cm, negru mat - 46R707015
  • Mexen Flow cadă de duș dreptunghiulară slim 150 x 70 cm, negru mat - 46R707015
Mexen Flow cadă de duș dreptunghiulară slim 150 x 70 cm, negru mat - 46R707015
Mexen Flow cadă de duș dreptunghiulară slim 150 x 70 cm, negru mat - 46R707015 Mexen Flow cadă de duș dreptunghiulară slim 150 x 70 cm, negru mat - 46R707015 Mexen Flow cadă de duș dreptunghiulară slim 150 x 70 cm, negru mat - 46R707015 Mexen Flow cadă de duș dreptunghiulară slim 150 x 70 cm, negru mat - 46R707015 Mexen Flow cadă de duș dreptunghiulară slim 150 x 70 cm, negru mat - 46R707015 Mexen Flow cadă de duș dreptunghiulară slim 150 x 70 cm, negru mat - 46R707015
Akryl+ Akryl+
Fund jos fortificat Fund jos fortificat
Ultraplat Ultraplat
Marca:
Serie:
Ean:
5905315951939
Index:
46R707015
Latura mai lungă:
150 cm
Latura mai scurtă:
70 cm
Înălțime:
4 cm
Culoare:
Negru
Culoare - Negru - ()
Suprafață - Mată - ()

Mexen Flow cadă de duș dreptunghiulară slim 150 x 70 cm, negru mat - 46R707015

Specificațiile produsului:

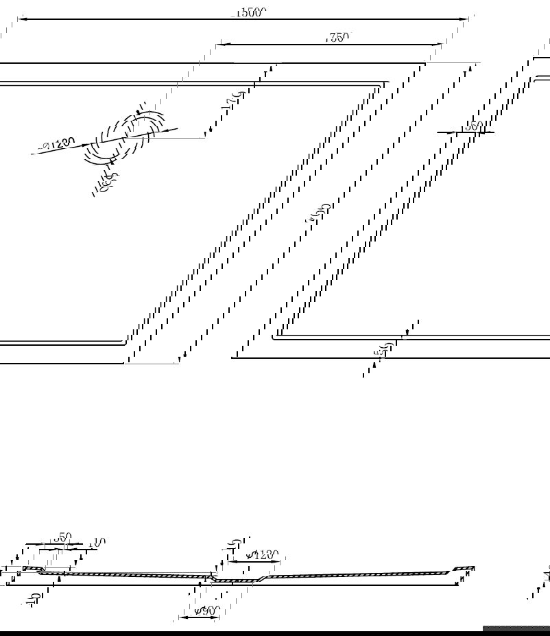
Dimensiune: 150x70x4 cm

Culoare: Negru mat

Tip: Dreptunghiular, Slim

Material: Acril sanitar

Bază întărită

Diametru scurgere: 90 mm

Cadă de duș nu include sifon în set

Soluții inovatoare utilizate în acest produs

Akryl+

Utilizarea acrilului în baie este o soluție foarte practică. Acrilul menține bine temperatura apei, prevenind răcirea rapidă a acesteia. De asemenea, are proprietăți acustice, reducând zgomotul în baie.

Fund jos fortificat

Fundul cabinei de duș a fost întărit suplimentar cu fibră de sticlă și placă HDF, ceea ce îl face nu doar durabil, ci oferă și siguranță în timpul băii. Fundul fortificat asigură o utilizare îndelungată a cabinei de duș.

Ultraplat

Tava de duș are un prag jos, ceea ce facilitează intrarea și ieșirea din duș. Adaugă o finisare excepțională și atemporală camerei, făcând baia un loc confortabil și estetic pentru relaxarea zilnică.

Cadă de duș profilată

Cadă de duș a fost proiectată astfel încât apa să poată curge liber către evacuare. Asigură o drenare rapidă și eficientă a apei de pe suprafața căzii de duș, prevenind formarea bălților și inundarea băii.

PerfectClean

Produsul are o suprafață netedă care încântă prin strălucirea sa și subliniază aspectul estetic. Întreținerea zilnică și curățarea suprafețelor de murdăriile apărute este mult mai ușoară și nu necesită utilizarea detergenților puternici.

2 ani garanție

Produsul este acoperit de o garanție de 2 ani. În cazul problemelor cu produsul achiziționat, vă încurajăm să ne contactați prin intermediul formularului de contact sau telefonic la numărul de telefon al serviciului de asistență.

Serie
Latura mai lungă
150 cm
Latura mai scurtă
70 cm
Înălțime
4 cm
Culoare
Negru
Suprafață
Mată
Material
Acril
Adâncime
12 mm
Diametrul scurgerii
90 mm
Sifon inclus
Nu
Instrucțiuni de utilizare
Informații de siguranță
Condiții de garanție
Producător

Nu ai găsit răspunsul?

Scrie -ne

Produsul nu are încă opinie. Lasă -ți părerea!

Mexen Flow cadă de duș dreptunghiulară slim 150 x 70 cm, negru mat - 46R707015

Mexen Flow cadă de duș dreptunghiulară slim 150 x 70 cm, negru mat - 46R707015

Preț de catalog: 993,60 Lei

794,90 Lei (cu TVA)

Mai ieftin de 198,70 Lei

20%

Cel mai mic preț din ultimele 30 de zile: 794,90 Lei

Akryl+ Akryl+
Fund jos fortificat Fund jos fortificat
Ultraplat Ultraplat
Marca:
Serie:
Ean:
5905315951939
Index:
46R707015
Latura mai lungă:
150 cm
Latura mai scurtă:
70 cm
Înălțime:
4 cm
Culoare:
Negru
Culoare - Negru - ()
Suprafață - Mată - ()
Încărcare...